Direct Drive Robot User Guide : Maintaining the robot : Replacing robot grippers

Replacing robot grippers
 
 
About this topic
You can replace the robot grippers under the following circumstances:
This topic explains how to replace the robot grippers.
 
 
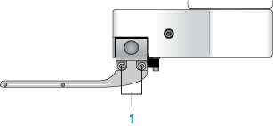
About the shim washers
Two ultra-thin washers are installed between each gripper and the robot hand, behind the screw at the back end of the gripper (1).
 
The washers are used to ensure the tips of the grippers point slightly inward to ensure optimal grip performance. The following diagram exaggerates the inward positioning.
 
Note: The number of washers used depends on the robot setup. Typically, only two washers are used behind each gripper. However, in some cases, many washers might be used to optimize grip performance.
 
Materials and tools
Make sure you have the following:
Before you start
Make sure you:
1
Use DDR Diagnostics to move the robot to a position where you can easily access the robot grippers.
2
3
Procedure
The replacement procedure involves the following:
1
2
3
Replacing the grippers
 
 
To replace the robot grippers:
1
IMPORTANT As you loosen the screw at the back end of the gripper, hold a hand under the screw to catch the falling washers.
 
2
3
4
 
5
a
b
6
Recording the gripper height
To record the gripper height:
1
 
2
In DDR Diagnostics, click the Setup tab.
3
In the Gripper Settings area, type the gripper height value you determined in step 1 in the Finger height box.
Recording the base clearance z-axis coordinate
The base clearance value is the z-axis coordinate at which the bottom of the grippers touch the top of the base. Knowing that z-coordinate prevents the robot from colliding with the base.
To record the z-axis coordinate:
1
 
2
In DDR Diagnostics, initialize the robot profile you want to use, and then click the Jog/Move tab.
3
 
4
Jog the robot down along the z-axis until the bottom of the grippers touch the top of the base.
 
 
5
In the Robot Status area, note the z-axis coordinate value.
Note: The z-axis 0 value is approximately 15 cm above the base. The z-axis value where the grippers touch the base is typically below the 0 value, so it is negative.
 
6
Click the Setup tab, and type the z-axis coordinate value in the Base clearance box.
 
 
 
Related information
 
Direct Drive Robot component names
Contacting Automation Solutions Technical Support